明树数据-凯发ag旗舰厅登录
凯发ag旗舰厅登录
切换导航
明树云数聚平台
投融资咨询
全过程咨询
收费公路全周期服务
产业规划咨询
企业管理咨询
公开报告
行研服务
软件ai业务总览
数据资产化服务
数据服务
凯发ag旗舰厅登录的简介
公司资讯
填写需求表
需求描述:
需求单位:
联系人:
联系电话:
您当前所在位置:
凯发ag旗舰厅登录首页
数据应用
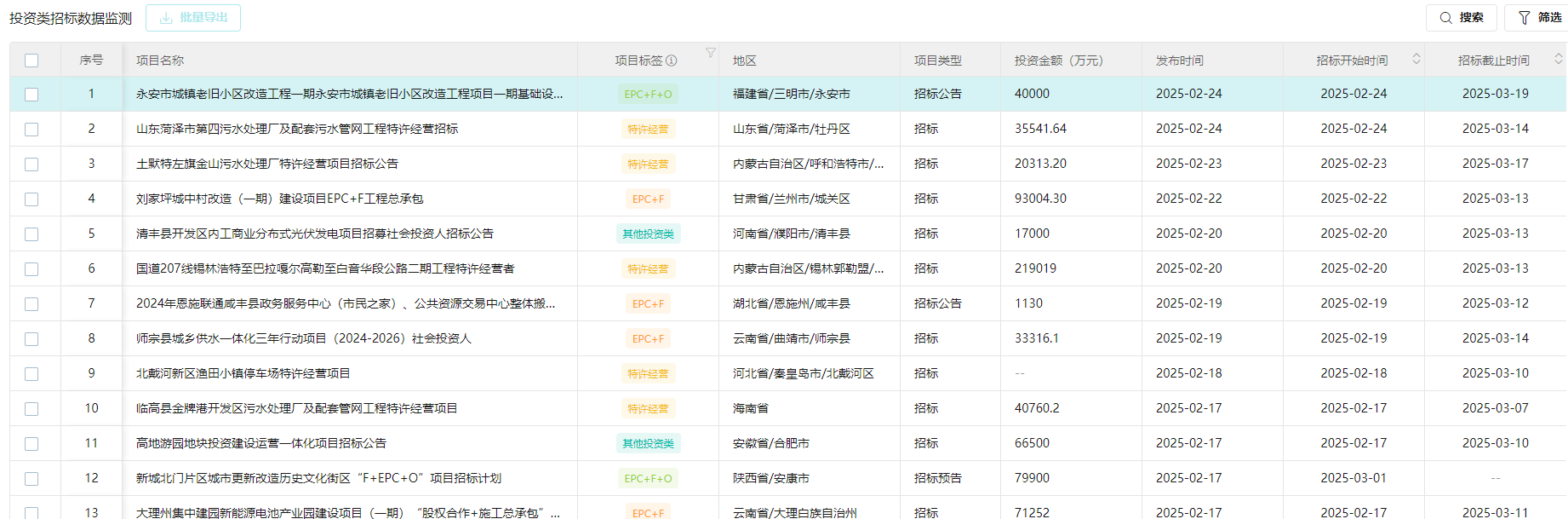
投资类招标数据监测
投资类招标数据监测
应用详情
数据来源:
公共资源交易中心
更新时间:
2025-08-29
数据频率:
1次/周
数据条数:
1000
相关推荐
基建投融资政策
政府重大项目
每日中标速递
企业业绩图谱
查看更多>
网站地图